官方:斯诺克中国公开赛时隔6年回归 8月8日-16日在山西太原开打
7杆50+!韦克林10-6普伦,晋级斯诺克世锦赛16强
终结六连败!张帅直落两盘击败利斯,晋级WTA1000马德里站第二轮
吞蛋+仅赢两局!张之臻不敌科普里瓦,马德里大师赛惨遭一轮游
吞蛋+仅赢两局!张之臻不敌科普里瓦,马德里大师赛惨遭一轮游
高芙:红土赛事如同完美好男人,但难以心动没有感觉

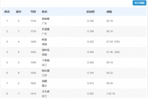
体育资讯11月17日讯 全运会田径女子400米栏决赛,莫家蝶以55秒19的成绩夺得金牌,孔莹蓥获得银牌,欧莹获得铜牌。
女子400米栏决赛成绩详情如下:
1 莫家蝶 55.19
2 孔莹蓥 56.10
3 欧莹 57.29(PB)
4 邹亦凡 57.46(SB)
5 丁依蕊 59.14
6 陆长薇 59.22
7 刘薇 59.34
8 王久香 1:02.16